Imaginez-vous face à un boss pour la dixième fois, pour finalement voir un « fantôme » numérique de vous-même intervenir et terminer le travail. Sony vient de breveter une nouvelle technologie d’IA radicale qui pourrait changer notre façon de gérer la frustration.

Le dernier brevet de Sony, qui a refait surface au début de l’année 2026, détaille un système connu sous le nom de « Ghost Assistance ». Cependant, il ne s’agit pas d’un simple indice textuel ou d’une piste lumineuse sur le sol.
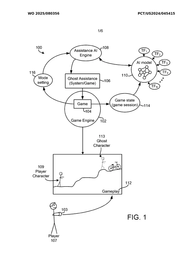
Comme le détaille VGC, le brevet décrit comment, au lieu de fermer le jeu, vous pourriez bientôt invoquer un assistant IA, ou « Ghost Player », qui apprend exactement comment vous jouez.
👉 À LIRE AUSSI : Fuites PS6 : Tout ce que nous savons sur la console de nouvelle génération
IA Gaming Ghost de Sony : La fin du blocage ?
La technologie utilise un moteur d’assistance IA entraîné sur des milliers d’heures de séquences de gameplay de la communauté. Elle crée un personnage « Fantôme » qui apparaît dans votre session en direct pour démontrer exactement comment franchir un obstacle spécifique.
Que vous soyez bloqué sur une énigme complexe dans Uncharted ou sur un boss exigeant un timing parfait dans Elden Ring, l’IA analyse l’état actuel de votre jeu et propose une solution personnalisée.
IA PlayStation vs Autonomie du joueur
Le brevet décrit deux modes principaux : le mode Guide et le mode Complet.
En mode Guide, le fantôme agit comme un coach, effectuant les actions nécessaires pendant que vous regardez, puis vous rend la manette. Le mode Complet va encore plus loin, permettant à l’IA de prendre le contrôle total et de terminer le segment entièrement pour vous.
Cela soulève une question de taille. Est-ce que cela tue la satisfaction de gagner ? Relever un défi est au cœur de l’âme du jeu vidéo.
Si une IA peut sauter les passages difficiles, la valeur de certains trophées ou le prestige de terminer un titre difficile pourraient disparaître. Cependant, pour les joueurs ayant peu de temps ou des besoins d’accessibilité, c’est une révolution potentielle.
Sony laisse également entendre que cette IA pourrait être conversationnelle, utilisant le langage naturel pour expliquer pourquoi elle effectue certains mouvements. C’est une évolution des cartes « Aide au jeu » de la PS5, passant de vidéos statiques à un partenaire d’apprentissage actif.
L’IA Gaming Ghost de Sony en vaut-elle la peine ?
S’il est mis en œuvre, ce système est une victoire massive pour l’accessibilité. Il évite d’avoir à consulter YouTube pour un guide, vous gardant immergé dans le monde du jeu. Mais pour les puristes, cela ressemble à un « bouton de saut ».
Pensez-vous que l’IA prenant le contrôle de la manette soit un outil utile, ou est-ce la mort du défi ?
Téléchargez gratuitement l'extension de navigateur Allkeyshop
Pour toutes les dernières actualités sur les jeux vidéo, les bandes-annonces et les meilleures offres, pensez à nous ajouter à vos favoris.
Vous pouvez trouver toutes les meilleures offres en ligne et les moins chères sur les clés CD, les codes de jeu, les cartes-cadeaux et les logiciels antivirus auprès des vendeurs de clés CD vérifiés sur nos pages de magasin.
Pour ne manquer aucune actualité sur Goclecd, abonnez-vous sur
Google Actualités
.
Bloodborne : Un Film d'Animation R-Rated Annoncé par Sony